Samsung may be pushing the limits of foldable technology with its upcoming Galaxy Z Tri-Fold, as new patents suggest each section of the device could feature its own battery, enhancing balance and performance. These filings indicate a never-before-seen battery layout in the foldable segment, pointing to a bold new approach in mobile design.
Samsung Tri-Fold Could Feature a Three-Battery System
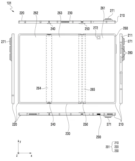
Patents recently discovered in South Korea’s KIPRIS database reveal an internal design that divides the battery into three separate units. Each battery is expected to power one of the three folding screens in Samsung’s upcoming Tri-Fold device.

Unlike the Galaxy Z Fold lineup, which distributes power across two batteries for its dual panels, the Samsung Tri-Fold prototype appears to assign a separate battery to each of its three segments. According to the diagrams, the central section houses the largest battery, the adjoining fold contains a medium-sized unit, and the smallest battery is positioned near the camera module.
This setup could allow Samsung to boost overall battery capacity without significantly increasing the device’s thickness. Still, the company will need to ensure that all three batteries operate efficiently and safely together, particularly if it intends to offer charging speeds higher than 25W.

In addition to its innovative battery setup, the patents reveal that the Samsung Tri-Fold will feature a tablet-sized display of roughly 10 inches. Leaks also suggest that the device will boast high durability, using a combination of titanium and aluminum, although it won’t include an under-display camera.
On the performance front, the triple-fold device is expected to be powered by a Snapdragon processor and paired with 16 GB of RAM. While details are not confirmed, it may come with either the Snapdragon 8 Elite or Snapdragon 8 Elite Gen 5.
Although Samsung has not announced an official release date, leaks and rumors indicate that the Galaxy Z Tri-Fold could launch in late 2025.